Though Mega Man Universe was cancelled three years ago, traces of its development still linger on the net. Gameplay, images, music, and now there's this: a patent for the game's stage editor and its subsequent sharing features.
According to the patent, Tobuto Dezaki -- known for his work on Haunting Ground, Breath of Fire IV and Tech Romancer -- designed Mega Man Universe's stage editor. This was intended to be a core component to the game, expanding on the tools previously introduced in Mega Man Powered Up. For example, Universe would have allowed creators to adjust enemy behavior, their movement patterns and how much damage they dealt to the player.
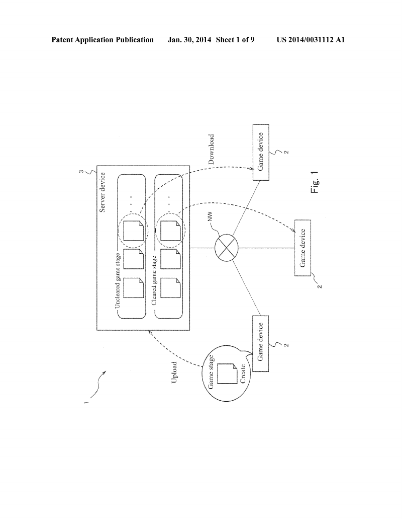
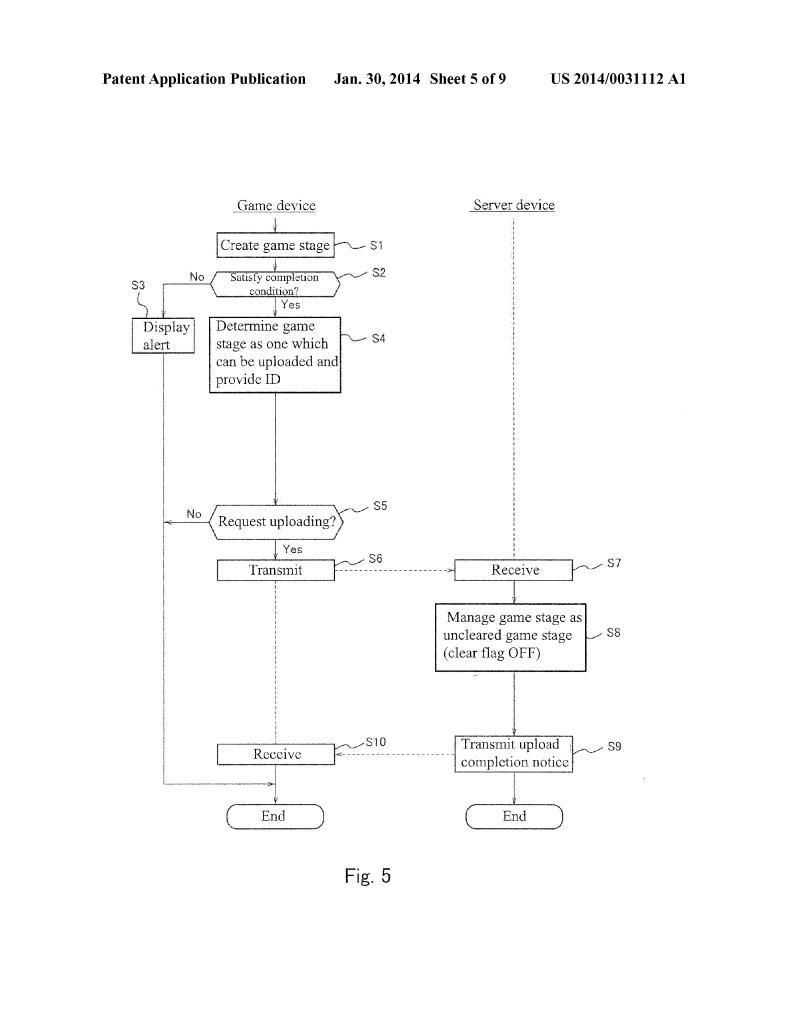
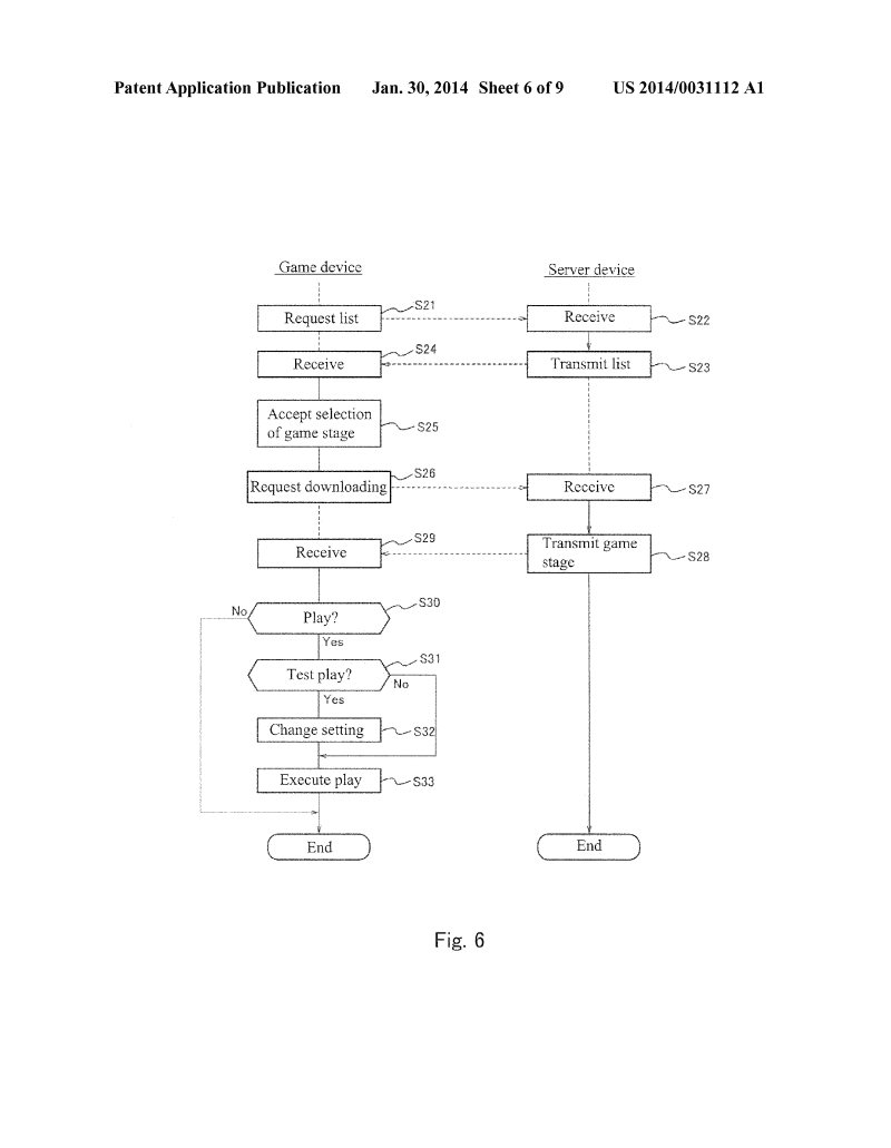
Further, the patent sheds new light on a quality assurance system, once designed to deter impossible to beat stages. Mega Man Universe required players to actually beat their homemade stage before sharing it online. If the stage cannot be cleared by the creator, the game would prevent it from being distributed to other players. "Insta-death" stages, like those that flooded Powered Up's network, would no longer be an issue.
To further deter the distribution of impossible stages, in-game currency would have been rewarded to creators that abide by good stage design ethics. This would have nabbed you a batch of items and abilities to be used in-game. The document is mum on specifics, though, leaving us to read between the lines.
There's a whole bunch of other features detailed in the patent, which you can find right here. It's an interesting, albeit lengthy read. For a simpler outline of the how all this stuff works, hit the jump below for official diagrams and images.







All of this sounds amazing, too bad Capcom ruined it.
ReplyDeleteYet another set of really awesome sounding ideas from Capcoms wonderful devs ruined by Capcoms terrible executives
ReplyDeleteYup. Another potential money maker ruined by Capcom's "Top Men". Just like their "genius" idea of selling Maverick Hunter X and Megaman: Powered Up exclusively to a shitty handheld.
DeleteYou know what I hate about the MHX/PU fiasco? that they had already tons pf PSP to PS2 ports, like the GTA games for example, whas it so hard to port those two as well? I'm sure they would've sell better on PS2 and by then the console had a huge MM fanbase.
DeleteI still want my remakes of X2 to X6.
PSP was not a "shitty handheld."
DeleteIt an odd-ball console to be sure, but there were plenty of good games for it.
To name some:
DeleteMetal Gear Solid: Peace Walker
Metal Gear Solid: Portable Ops
Metal Gear Acid
Metal Gear Acid 2
Little Big Planet
Monster Hunter 2
Monster Hunter 3 (Japan only)
Warriors Orochi 2
Dragon Ball Z Shin Budokai - Another Road
Dissidia 012
Jeanne d'Arc
Tactics Ogre
Katamari
Gran Turismo
Puzzle Quest
God of War
GTA
Assassin's Creed
...
And for oldies with new content:
Mega Man Powered Up (remake)
Maverick Hunter X (remake)
Rockman DASH (Japan only)
Rockman DASH 2 (Japan only)
Castlevania: The Dracula X Chronicles (remake & collection)
Final Fantasy IV: The Complete Collection (improved)
Final Fantasy Tactics (improved)
Star Ocean Second Evolution (improved)
Metal Slug Anthology
Samurai Shodown Anthology
Power Stone Collection
Darkstalkers Chronicle
Street Fighter III
Capcom Classics Collection Reloaded
Capcom Classics Collection Remixed
Sega Genesis Collection
Namco Museum
Lemmings
...
And several PS1 games
Uh you probably meant Street Fighter Alpha 3 Max. SFIII in any form was never released for PSP. More importantly how do you have a PSP list without Ys Seven, Kingdom Hearts BBS, but list four MG games, two Monster Hunters and DBZ Budokai of all things. I am so saddened by the you made list man. LOL
DeleteBTW PSP was a much better physical handheld/console than the DS line. DS was just superior in terms library and sales, which caused a domino effect because publishers wanted to make games for the most popular console. Same with the now 3DS and Vita.
This I feel was due to Nintendogs giving the console a large head start, selling like crazy early on for some odd reason. Since then PSP couldn't compete with the constant bombardment of best selling Mario and Pokemon games. Basically PSP's best selling game MH3 (4.6 million units) couldn't even surpassed DQIX: SotSS (5.34 million units) which pales in comparison to DS's actual best sellers NSM Bros., Mario Kart DS, Brain Age, and Pokemon D&P all of which sold well over 15 million units.
I don't understand why MMU wasn't promoted/demoed with either it's character or level design features.
ReplyDeleteI don't know if this project was doomed from the start. But I think that would have held some amount of interest in the game while it was still in development.
... *starts sobbing uncontrollably*
ReplyDeleteSo much wasted potential.
ReplyDeletePretty much sums up how I feel about Capcom's handling of the Mega Man franchise as a whole.
Just a reminder, the game was cancelled very shortly after the tsunami that devastated Japan.
ReplyDeleteyou mean the tsunami that didn't reach osaka on any shape or form? should i remind you the interview of angry joe when he asked seth about the whole tsunami and seth replied with tsunami didn't cause any problem to capcom of japan?
DeleteThat's not what Seth said. What Seth said, and I'm quoting, in regards to the tsunami was that it "... affected a lot of things over in Japan. So a lot of people individually. So Capcom was not hit in a direct way, like we had some cracks in the office building. They had power outages, so we had to send people home for a little while. In and out like that. But over all there were a lot of larger concerns as well as individual things going on as far as Capcom missing a few weeks of work and things like that."
DeleteAnd just because the tsunami didn't reach Capcom's main branch doesn't mean it didn't have a significant impact on it. Events like that shift the economy in a number of ways. I also doubt that all of Capcom's work is handled in-house meaning other resources might have been impacted.
Also the condescension is unnecessary, and unwarranted. You act like everyone should know of Angry Joe's interview.
Well, the Mega Man Legends 3 Devroom was revived through Mighty No. 9. Surely this would be revived as well some day.
ReplyDeleteOh please you people hated Mega Man Universe every day until it was cancelled don't pretend you liked the whole time now.
ReplyDeleteI certainly didn't. Kindly don't speak for others please.
DeletePotential was the biggest thing I saw in this project. Shame it was wasted.
No If I were to link you to my posts at the time of MMU hype, you'd see me arguing and defending the living hell out of it.
DeleteI do agree that ther was a very big part of the fanbase hating on superficial sutff like the Character Designs or the MM2 remade levels, wich were moot points because they was also a "classic" MM skin in the game and the levels were going to be user-generated, so the defaultr one would fall soon into oblivion like it happens with LBP.
DeleteBut there was also a very big part of the fanbase, myself included, who wanted this game and saw it as the PU version of 2 we never had, hell iI even liked the american MM design with the neon lights and cartoony eyes.
and trust me, I'd love this way more that the cheap stuff they gave us later, SFxMM and Xover.
I personally was super excited for Mega Man Universe. It would have been a matter of weeks before fans recreated the entire back-catalog of Mega Man games for download, which would have meant we all would have had access to HD versions of the entire Mega Man catalog.
DeleteThat's what I think is the real reason it was canceled; CAPCOM decided they could make more money off the franchise if they could re-release them for every console, every generation, as opposed to providing fans with the tools to recreate and distribute those games themselves. The advent of Mega Ma?'/n Universe would have meant CAPCOM giving-up control of that kind of game and that kind of game-play.
@TekkZero: MMU Megaman was basically the Toon Link version of MM, the body/head proportions and eye shape are nearly exactly the same. Only thing is MMU-MM is always frowning and the artstyle was slightly bolder and edgier. To be fair people hated Toon Link at first, but look at him now, if he is not represented in the Zelda essential reps, millions will riot.
DeleteIt's true, there were a lot of people that hated on this game. But I'd like to think it was a very vocal minority. If you stepped outside of the core MM fandom, there were LOTS of "casual fans" (for lack of a better term) that were really excited for this game. And ya, not all of us hated it, either. I was actually way more excited for this than for MML3, to be honest.
DeleteOnly a couple people 'round these parts hated Mega Man Universe, but they didn't hate it for laughs. They had very legitimate reasons for their dislikes.
DeleteI really wish the game had come out... It may have been the sole reason I bought an Xbox 360, but it would've been a darn good reason, much like how the PSP Mega Man games were my sole reason for owning a PSP. (I got other games down the road for it, of course. Plenty of good ones out there!)
Thank you. So many people on this site or MMN were dogging this game to the point where I knew it wouldn't see the light of day, which was a shame since this was my most anticipated game since MM9, which was my most anticipated ever.
DeleteI'll be honest. Even now, three years later, I still can't say that I'm even the least bit saddened by this game's cancellation.
ReplyDeleteMan, the sheer level of customazation involved in MMU would have been mind boggling...
ReplyDeleteIt's a shame this game doesn't have 1/10th the advocates clamoring for it's resurrection that Legends 3 has.
ReplyDeleteMaybe if there were some 18+ Megaman Universe fanfics going around it would.
At least Nintendo is smart enough to move forward with their Mario Maker game, so at least that's the next best thing.